湖北省二级建造师培训机构官网(湖北省二级建造师报名官网)
湖北2022年二级建造师网上报名已开通,有很多不知道报名的小伙伴不知道怎么办,现在把报名方法、步骤详细告诉大家。
先登陆湖北人事考试网:http://www.hbsrsksy.cn/
箭头处进去
新用户要先注册人事考试账号,老用户直接填写用户名密码、验证码后登录
新用户先添加学历信息
学历信息添加后一个工作日审核后是通过才可以报名,如果是中专学历,提交后会显示人工审核,需要还学历和身份证到当地人事考试院现场审核。审核通过后显示通过状态才可以继续报名。
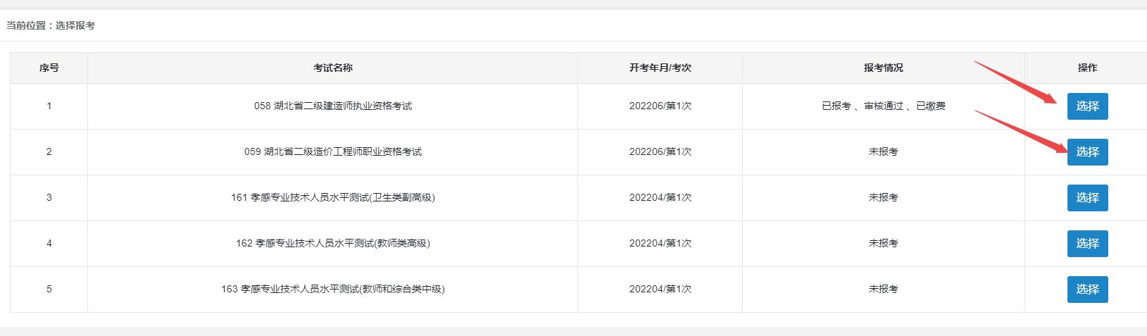
选择相对应的二级建造师或二级造价师考试报名
如果是新考生,选择考全科,再选择相应科目,如果是老考生有通过了的科目会自动显示为红色,不用勾选。
如果是非建筑专业就先非专业,如果是相关专业就选相关专业。
资格核验完成,支付费用,报名才算是完成。
最后一定记得打印报名信息表!!!
